ポータブルミキサーの製作

ポータブルミキサーの基板組立
組み立て前の確認
必要な工具
ドライバー、ラジオペンチ、ニッパ、ワイヤーストリッパー、カッターナイフ、ピンセット、半田ごて、半田スタンド
この他、トランス、シールドケースの半田付けに80W位のこてが必要です。20Wではやや無理があります。
必要な計器類
20kHz以上測定できる交流電圧計(マルチメータ)、2現象オシロスコープ、40〜60dBアッテネータ(VRと抵抗で組んでもOK)、オーディオオッシレータ。更に12V、1A程度の電源。オシロスコープは2現象で帯域はオーディオレベルで十分です。(オーディオ信号電圧は必ず交流電圧計で測定します。)
アッテネーターはVRや抵抗で組んでもOKです。入力電圧を0.5mV〜1Vへ設定しますので簡単なものでOKです。
オーディオオッシレータはWaveGeneというフリーソフトでもOKです。WaveSpectraとセットで周波数特性や歪率なども計測できます。
WaveGeneでは1kHzサイン波を使います。最大3Vp-pの発振を出力しますので、PC側ATTを−10dBで出力して更に外部アッテネーターで電圧調整します。微調整はPC側で1dB単位に調整できます。
外部電源は5〜15V、1A程度の実験用電源を使います。
パーツの確認
一部パーツセットの場合はパーツの確認をお願いします。
組み立て手順
まずはじめにICソケットを全て半田付けし、次に電源用ターミナルブロックを半田付けします。更に+−12Vラインの0.1μFコンデンサーを取り付けます。
ここでDC-DCコンバーターをつけて電源をつなぎますが、ここでは外部より12Vを使います(9〜18Vの外部電源が使えます)。電源ラインに±12Vが出ていることを確認します。
次に最初に行なう回路別組み立てをします。
1.オッシレータ
1kHzオッシレータを組みます。シルク印刷では電解コンデンサーの部分に極性が印刷されていますがパーツセットの場合、1μFと10μFは積層コンデンサーを使い極性はありません。(極性あり電解コンデンサーでもOKです)
2.オッシレータアンプ
オペアンプ2段のアンプです出力が0dBとなるよう半固定VRで設定します。
3.メインアンプ
L、R、両チャンネルを組みます。
4.VUメータアンプ
メインアンプからの配線をしてからL、R、両チャンネルを組みます。L、R、合成用アンプです。
5.VUメータアンプその2
標準のVUメーター用アンプです。
ここまで出来ましたらオッシレーターのオペアンプのみをセットしオシロスコープにてオッシレータが1kHzを発振していることを確認します。
VUメータを接続してVU各回路の校正方法
オッシレータの発振を確認したら残りの回路のオペアンプ6個をセットします。
回路図にあるようにメインアンプのVRの両端の交流電圧が0.775Vになるようにオッシレータアンプの半固定VRを調整します。L、R、に誤差が出ると思いますがどちらかで正確に合わせてください。
次に、メインアンプの出力トランスのOUTPUT両端の交流電圧が1.228VになるようにメインVRを調整します。出力トランスのOUTPUT側のアッテネーター抵抗は必ず組み込んだ状態で測ります。トランスがオープンの状態で電圧を測らないでください。
L、R、がそれぞれ1.228V(+4dB)になったことを確認して次にVU調整です。
VUメーターアンプその2の半固定VRを中ほどまであげておきます。またR側VUメーターアンプの出力側100kΩ半固定を真ん中当たりにセットします。
VUメーターセレクターSWをL、にセットします。VUメータアンプL、の半固定VRを回してメーターが0VUとなるよう調整します。
VUメーターセレクターSWをRにセットします。同じようにVUメーターR、の半固定VRを回して0VUにあわせます。
メーターセレクターSWをL+Rにセットします。VUメータアンプR、の半固定100kΩVRを回してメーターが0VUとなるよう調整します。
0VUに届かない場合はVUメーターアンプその2の半固定VRで補足します。
これでメインアンプが1.228Vを出力している時にVUメーターはL、R、L+R、の各ポジションで0VUをさします。また逆にオッシレータをONにして0VUになるようメインVRをセットするとメインOUTも1.228V(+4dB)にセットされます。
このときL、R、各共通バスは0dBで0.775Vになります。
ファンタム電源
今回ファンタム電源は12Vから48Vを作ります。
8倍圧インバータ出力電圧54Vマイク端子電圧48V〜50Vです。ファンタム電源はシールドします。またファンタム電源の電源SWをつけてファンタム電源不要な場合OFFにして消費電力を抑えます。
基板外との接続はピンヘッダーを介してピンソケットを使用しました。
セレクターSW、ヘッドホンジャック、VR,などです。
訂正箇所
マイク回路の入力側コンデンサー0.001μFとパラ接続の10kΩは使いません。
又、ラインアンプ1段目470kΩも100kΩに訂正します。
出力端子の表記ホット2番と、コールド3番を入れ替えてください。
Lチャンネルについても逆でした。


ファンタム電源のシルク印刷で電解コンデンサーの電圧表示が48Vとなっていますが50Vの誤りです。
又、次の通り訂正します。
50μF--->47μF 200μH--->220μH 400μH--->470μH 正しいシルク印刷図を添付します。

ファンタム発振用及び、バッファのICは出力をショートするとすぐに壊れます。電圧テスト時は注意してください。
ファンタム電源部はシールドします。基板裏についてもシールドして下さい。
テスト中の画像です。
シールド状態です。ショートしないよう内側にテープを張っています。又、基板接触部も絶縁します。発振部、フィルター部は仕切りを入れてシールドを分離します。
シールドケースは、がちがちに半田付けすると回路ショートでICを壊した時に、交換出来ません。シールド効果が出れば、ほどほどでOKです。
各チャンネルの増幅度の調整はラインアンプ2段目の50kΩ半固定にて調整します。
入出力は全てバランス回路ですがアンバランスの接続はファンタム電源に気を付けてください。
ファンタムはマイクレベル時にしかオンいならないよう組んでいますが、誤ってアンバランスマイクにファンタムを入れるとマイクまたはファンタム電源が壊れます。
ファンタム側が壊れてもICだけですがマイクを壊すと痛いです。(ファンタム用のICは予備を購入しておくほうが良いです)
添付のキット部品表は基板をベースに品種が多くバラで購入すると高くなるものを集めました。
オペアンプなど半導体やVR、半固定のほかにも必要な部品があります。
キャノンコネクタ、VUメータ、6PSW、2回路3接点ロータリーSW、3回路4接点ロータリーSW、ツマミ、電源SW、充電バッテリー、ケース、ステレオフォーンジャック、配線ケーブル、ビスナット、0.3mmシールド用銅板などです。
これらはご自身で最適な部品を選んで組み込んでください。
VUメーターをラジケータで使用する場合は以下のようにメーターアンプその2の入力部にゲルマニュウムダイオード1N60を取り付けて基板裏の図の部分をカットしてダイオードを有効にします。


主な仕様
1.入力部 3CH バランス式
インピーダンス10kΩ
入力レベル マイク -60dB
ライン 0dB
入力レベル切替はアッテネータ切替式
2.出力部 2CH
バランス式
インピーダンス600Ω
出力レベル
+4dB
-60dB
3.ファンタム電源
48V X 3CH
4.モニターフォーン
L+R、L、L/R、R 4ポジションセレクター
5.VUメーター
L、L+R、R 3ポジションセレクター
6、オッシレータ
1kHz 0VU
= +4dB
7、電源
+12V(9V〜18V) DC-DCインバーター±12V 1基
消費電流 270mA(ファンタム電源作動時)
補足説明
ピンヘッダによる端子について
入力端子の1,2,3、は、キャノンコネクタのピン番号と一致します。

基板マイク入力端子 キャノンコネクタ
ピンNo.1−−−−1番アース
ピンNo.2−−−−2番ホット
ピンNo.3−−−−3番コールド
に対応します。
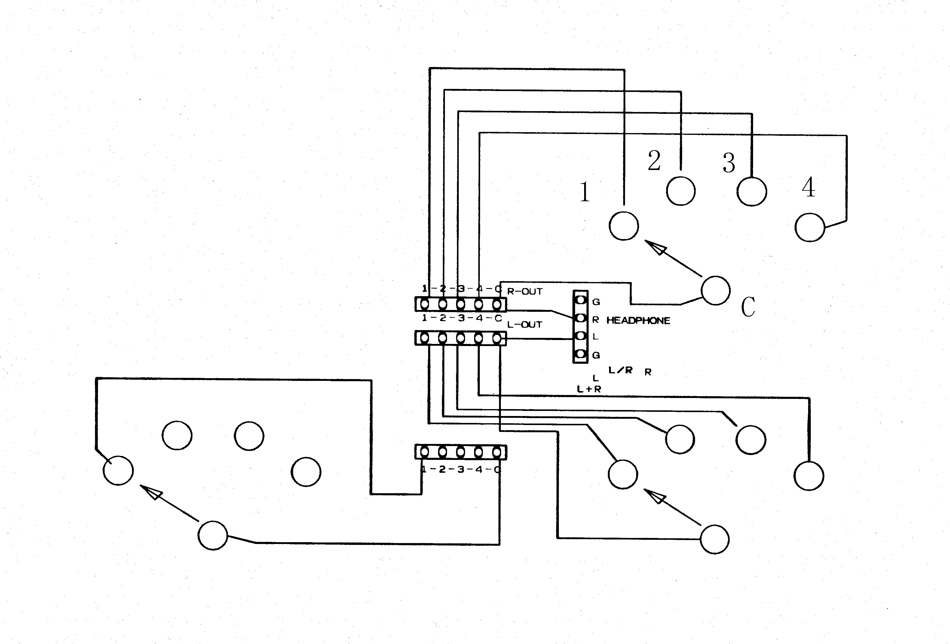
セレクタSW

ヘッドホンセレクターについては上の図のようにピンヘッドからロータリーSWへ配線します。
下の写真は、ピンソケットを使った例です。
半田付けでもOKです。
ヘッドホンは3回路4接点、VUメーターは2回路3接点を使います。
各チャンネルラインアンプの出力を左右に振り分ける部分に付いては


回路図A,B,C,Dと基板A,B,C,Dが対応します。
出力AをCとBに振り分けます。
回路図を参考に組み込んでください。
ピン接続
入力ピンとキャノンコネクタ(オスの場合)の関係



入力切替SW
下の写真ではSWにファンタム電源が配線されていませんが、マイク選択時にONとなる様配線し
ます。



L,Rバスへの入力SW
白はLINE出力、青はL,Rの入力端子で3PトグルSWにてアース、またはLINE出力を選択する



メインアンプの出力設定VR



ヘッドホンVR



最後に回路図と基板パターン図を付けます。(上記修正箇所訂正済み)
全回路図(PDF)
全パターン図(PDF)
新しいケースの製作に続く
ホームへ